
產品名稱:H44H/Y旋啟式高壓止回閥
產品標簽:止回閥,旋啟式高壓止回閥
更新時間:2019/5/22 11:21:22
上一個產品: H42X升降式底閥
下一個產品:CVWR對夾式靜音止回閥
在線訂購:在線訂購
產品詳情
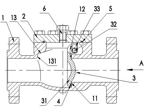
H44H/Y旋啟式高壓止回閥產品概述:
旋啟式高壓止回閥一般用于工作溫度≤450℃,工作壓力≤25.0MPa,介質為水、蒸汽、油品的高壓管路系統,起防止介質倒流的作用。
H44H/Y旋啟式高壓止回閥產品特點
1、閥門中口采用壓力自緊式密封結構,介質壓力越高,密封性能越好
2、密封面采用堆焊司太立鈷基硬質合金,具有高硬度、抗腐蝕、抗氣蝕、優良的抗擦傷性能,閥門使用壽命長
3、直通式,介質流阻小
4、閥門開啟和關閉是靠介質的作用力來實現的,介質回流時自動快速關閉
5、維護及檢修方便、快捷
H44H/Y旋啟式高壓止回閥主要技術規范
型號 |
公稱壓力 PN(MPa) |
試驗壓力(MPa) |
適用溫度(℃) |
適用介質 |
|
殼體 |
密封 |
||||
H44H-160 |
16.0 |
24.0 |
16.0 |
≤425 |
水、蒸汽、石油、石油產品等 |
H44H-250 |
25.0 |
38.0 |
25.0 |
||
H44Y-200 |
20.0 |
30.0 |
20.0 |
60 |
氫油 |
H44Y-250 |
25.0 |
38.0 |
25.0 |
-40~100 |
油品 |
H44H/Y旋啟式高壓止回閥主要零件材料
零件名稱 |
閥體、搖桿 |
閥瓣、螺母 |
閥蓋 |
銷軸、四開環 |
螺栓 |
密封面 |
H44H-160 |
碳素鑄鋼 |
碳鋼 |
碳素鑄鋼 |
不銹鋼 |
鉻鉬鋼 |
柔性石墨 |
H44H-250 |
碳鋼 |
|||||
H44Y-200 |
||||||
H44Y-250 |
H44H/Y旋啟式高壓止回閥主要外形尺寸
公稱通徑 DN/mm |
尺寸 /mm |
重量 / |
|||||||||||
L |
D |
D1 |
D2 |
D8 |
b |
f |
b4 |
f3 |
Z-фd |
Do |
H |
||
50 |
300 |
215 |
165 |
132 |
95 |
36 |
3 |
12 |
8 |
8-ф25 |
142 |
210 |
44.5 |
65 |
340 |
245 |
190 |
152 |
110 |
44 |
3 |
12 |
8 |
8-ф30 |
161 |
227 |
54.7 |
80 |
380 |
260 |
205 |
168 |
130 |
46 |
3 |
12 |
8 |
8-ф30 |
180 |
235 |
67.5 |
100 |
430 |
300 |
240 |
200 |
160 |
48 |
3 |
12 |
8 |
8-ф34 |
210 |
274 |
101.5 |
150 |
550 |
390 |
318 |
270 |
205 |
66 |
3 |
14 |
10 |
12-ф41 |
300 |
340 |
220.6 |
200 |
650 |
480 |
400 |
345 |
275 |
78 |
3 |
17 |
11 |
12-ф48 |
375 |
374 |
404 |
300 |
900 |
665 |
570 |
510 |
380 |
100 |
3 |
23 |
14 |
16-ф54 |
480 |
505 |
1019 |
H44H-250旋啟式高壓止回閥
公稱通徑 DN/mm |
尺寸 /mm |
重量 / |
|||||||||||
L |
D |
D1 |
D2 |
D8 |
d |
f |
b4 |
f3 |
Z-фd |
Do |
H |
||
80 |
450 |
260 |
205 |
168 |
130 |
50 |
3 |
12 |
8 |
8-ф30 |
200 |
245 |
90.6 |
100 |
520 |
300 |
240 |
200 |
160 |
58 |
3 |
12 |
8 |
8-ф34 |
225 |
280 |
139 |
H44Y-200旋啟式高壓止回閥
公稱通徑 DN/mm |
尺寸 /mm |
重量 / |
|||||||||
L |
D |
D1 |
D2 |
D6 |
d |
f |
Z-фd |
D3 |
H |
||
150 |
700 |
440 |
360 |
305 |
185 |
82 |
3 |
12-ф48 |
310 |
343 |
372 |
200 |
800 |
535 |
440 |
- |
- |
- |
- |
12-ф54 |
- |
- |
- |
H44Y-250旋啟式高壓止回閥
公稱通徑 DN/mm |
尺寸/mm |
|||
L |
D |
D1 |
Z-фd |
|
65 |
400 |
260 |
203 |
8-ф30 |
80 |
450 |
290 |
230 |
8-ф34 |
100 |
520 |
360 |
292 |
8-ф41 |
150 |
700 |
440 |
360 |
12-ф48 |
200 |
800 |
535 |
440 |
12-ф54 |

注:以上的產品介紹,參數,圖片,數據僅用于參考,如果需更準確的資料請咨詢公司技術服務熱線:18117208829




